
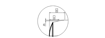
如下图所示,在滚针轴承的生产中,母线轮廓的精度至关重要。中间段的修形和两端边缘过渡轮廓(图中△h)的微小偏差,会直接影响轴承的机械性能与使用寿命。其质量要求甚至高于一般滚子轴承。因此,在滚针的生产过程中,必须对滚针的母线轮廓实施高频测量监控。


多数企业通常对滚针母线轮廓的测量方法采用常规高精度轮廓仪进行测量。该类设备虽然能对滚针母线轮廓进行有效的测量控制,但存在测量效率低的问题,无法满足滚针高频测量监控的要求,同时对环境要求苛刻,易受产线振动、温湿度变化干扰。故采用高精度轮廓仪对滚针母线轮廓进行测量监控不是非常好的方案。

针对这一需求,威尔开发了快速高效直线度测量仪,该仪器核心优势包括:
结构紧凑,环境适应性强
威尔采用精巧紧凑的设计节省空间,对使用条件要求低,抗干扰性能出色,能稳定运行于振动、温湿度波动等复杂的生产现场。
测量高效,自动化程度高
威尔设备可在数秒内完成滚子母线轮廓测量,操作便捷,支持手动与自动多种测量方式,无需人工干预即可自动输出结果。

配置专业,结果精准可靠
威尔配备精密导轨和专用工装,确保定位一致性与测量重复性,保障数据准确、高效。

以上就是《知识分享 | 威尔快速高效直线度测量仪的应用》的全部介绍,希望能为大家提供切实帮助。
对于企业而言,工业测量仪器的精度与稳定性直接影响生产效率与产品质量,因此选择一家经验丰富、靠谱的合作商至关重要。我们在工业测量仪器领域深耕十余载,不仅积累了扎实的技术经验,更能为客户提供从设备选型、安装调试到售后维护的全流程支持。
如果您有相关需求或想进一步了解产品细节,欢迎随时拨打我们的咨询电话:133-7622-3098,我们将竭诚为您服务!


